行业热点
Article
首页 > 行业热点
老牌IVD企业,被限高,无可执行财产!

发布者:IVD资讯

发布时间:2025-06-30

点击:369

来源:企查查、IVD从业者网、IVD资讯

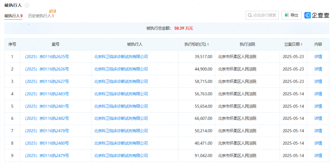
近日,北京科卫临床诊断试剂有限公司新增终本案件,执行标的240万,未履行金额240万。终本案件是指法院的执行案件,由于被执行人没有可供执行的财产,而裁定终止本次执行程序。

北京科卫临床诊断试剂有限公司前身是中国人民解放军第 302 医院于 1990 年创办的北京临床诊断试剂厂。302 医院是全军传染病专科医院,汇集国内众多著名的临床和诊断专家教授。302 医院将领先的技术成果和宝贵无形资产,大量注入了北京科卫临床诊断试剂厂。1992 年总后卫生部批复,在此基础上成立“全军传染病诊断试剂质控中心”。
2004 年按照国家相关规定,由中国人民解放军总后卫生部批准,对原北京科卫临床诊断试剂厂进行了企业改制和资产重组,成立了具有现代企业机制的北京科卫临床诊断试剂有限公司。北京科卫具有药品生产许可证、医疗器械生产和经营许可证,以及出口品种的 CE 认证。传承于解放军传染病医院的技术积累,致力于最新体外诊断试剂技术的研发。产品项目包括:传染病、肿瘤、优生优育、性激素、甲状腺功能等系列。终端客户包括医院、血站、疾控、计生、体检、第三方独立实验室等。
2013年12月31日,通过股权变更,成为南通市伊士生物技术有限公司全资子公司,实现强强联合,合并后公司产品线实现酶免、化学发光、金标快诊、半自动仪器、全自动仪器的全面覆盖,同时将两个公司各具优势的海外市场、国内临床市场渠道优势进行整合,做到优势互补,为成为国内一流的体外诊断试剂生产、研发企业打下坚实的基础。
南通伊仕生物技术股份有限公司成立于 1999 年,是集生物原料开发、诊断试剂制造、国内外贸易,服务于一体的国家高新技术企业。公司设立伊仕生物研究院和北京,无锡,郑州研发中心,主要开展体外诊断试剂、纳米抗体、基因重组抗原、单克隆抗体、聚合酶链式反应试剂(PCR)以及检测设备的研究、开发与生产。公司在家庭生殖健康检测、毒品检测及药品滥用、传染病检测、肿瘤诊断等多个领域处于行业领先水平。
企查查数据显示,北京科卫被执行金额为50.39万,限高涉案金额240万,总经理王宝君被限制高消费。IVD资讯查询发现,科卫诊断官微、官网已经多年未更新。
值得注意的是,今年1月,作为母公司的伊仕生物也起诉了子公司科卫诊断,目前案件在审理中。

客服热线
13986268233
关注我们:

扫一扫关注我们