首页
公司介绍
IVD资讯
品牌张聊医疗
IVD体外诊断网
行业资讯
行业热点
技术产品
市场观察
政策法规
创业投资
业务介绍
品牌战略咨询
主编原创
内容传播
直播/转播
视频号专访
宣传片制作
全媒体发布
战略合作
舆情报告
企业动态
职场招聘
联系我们
搜索
行业热点
Article
首页
>
行业热点
IVD企业,打官司要账!
发布者:IVD资讯
发布时间:2023-12-11
点击:551
IVD资讯原创整理,参考公司3季报、企查查
新冠疫情,带来了不少IVD企业的检测红利,也带来了检测结束后的一地鸡毛。不仅是国内、国外的IVD企业,因为疫情的结束,导致业绩大跌、裁员、破产的比比皆是。
新年要旧账,便是困扰在各个IVD企业上的一件大事。
从链条上讲,IVD生产企业欠上游原料供应商的,商贸公司或检验所欠生产企业的,医院或政府欠医检所的。
前面环节,协商不成还可以打官司解决,和政府采购及医院之间,很多企业就只能加强催收了。
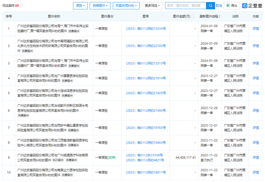
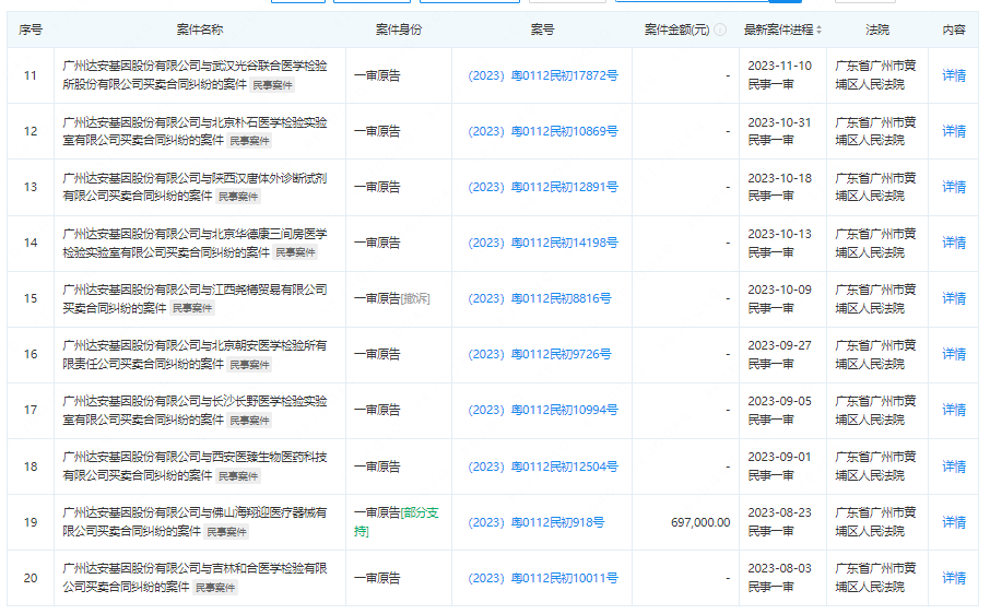
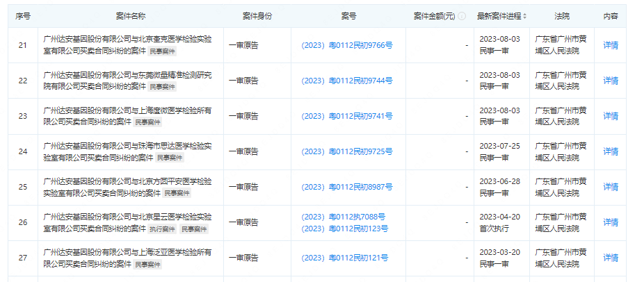
IVD生产型的代表企业,比如达安、明德等,因为合同纠纷,把供应商告上法庭的真不少,企查查一搜就能看到。
达安基因截止到3季度应收账款有24.8亿,涉诉案件较多:
明德生物截止到3季度应收账款15.6亿元,涉诉案件:
但第三方检测公司,涉及的合同诉讼案件较少,但也背着不小的应收账款压力。
迪安诊断应收账款93.9亿。
前三季度实现营业收入102.92亿元
,
同比下降34.15%
。
归属于上市公司股东的净利润5.31亿元
,
同比下降78.13%。
金域医学应收账款60.3亿。
前三季度
,
金域医学营收达63.1亿元
,
归母净利润达5.76亿元
。
其中
,
常规医学检测服务收入为58.91亿元
,
同比增长16.65%。
凯普生物应收账款22.5亿。
2023年前三季度
,
公司实现营收8.51亿元
,
同比减少80.03%
;
归属于上市公司股东的净利润1.72亿元
,
同比减少88.44%
。
华大基因应收账款15.2亿
。
公司前三季度实现营收31.43亿元
,
扣非净利润8653.80万元。
高层洗牌后,医械巨头迎新任“掌门”!
上热搜的这家IVD企业,早已发不出年终奖!
相关资讯
IVD全国独家新品!亮相CACLP
2026-04-22
菁良国产第三方质控品,重磅亮相CACLP!
2026-04-22
IVD标签及医疗器械唯一标识UDI解决方案!
2026-04-22
全球首发!康华生免流水线横空出世
2026-04-22
中元汇吉,签约碧迪!
2026-04-22
Copyright©2016-2024 All rights reserved. IVD资讯 版权所有
陕ICP备2022001803号
咨询热线
13986268233