发布者:IVD资讯
发布时间:2023-12-14
点击:505
来源:IVD从业者网
随着时间进入12月,各大IVD企业的年底回款情况成了影响业绩指标最关键的因素,对于此前很多依靠新冠业绩腾飞的企业应收账款问题最为严重,据IVD从业者网调研显示,部分企业在6月以后就开始频频让销售与渠道、与客户进行对账,催收回款。
这里面沉积了好多年的烂账,有些医院领导都换了一个遍,有些渠道早已不知所踪,有些票据早已不知去向,虽然年年要,但能收回来的可能性已经不大了。
还有一种情况,能找得到人,能找得到公司,但就是没现金来换钱,尤其是一些在疫情期间开起来的小检验所,上边的钱没结,自己没那么多钱垫,又没有筛查任务了,基本就处于一穷二白的境地了,这个时候,换钱那是真的有心无力。
和医院打官司要钱的公司有,但不多,但是和渠道、和检验所打官司要个货款还是没啥顾忌的,因此各大IVD企业就开始一催、二催、三催,最后上司法程序了。
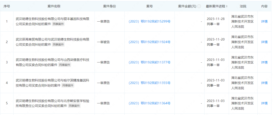
据企查查数据显示,武汉明德生物11月有5个合同纠纷进入民事一审,买卖合同纠纷方分别是银丰基因科技、武汉辰苒商贸、山西柒缘医疗、哈尔滨精准基因、北京朝安医学检验所、黑龙江精卫医学检验实验室等。
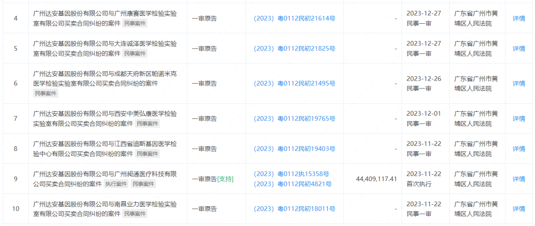
作为国内新冠核酸检测龙头企业的达安基因也是深陷要账泥潭,自今年4月起已与上海泛亚检验所、北京星云检验所、北京方圆平安检验所、珠海思达医学检验所、上海度微检验所、北京奎克检验所、吉林和合检验所、北京金准检验所、长沙长野检验所、北京朝安检验所、北京华德康三间房检验所、北京朴石检验所、武汉光谷联合检验所、南昌业力检验所、江西迪斯基因检验所、西安中美弘康医学检验实验室、成都天府新区帕诺米克医学检验实验室、大连诚泽医学检验实验室、广州康赛医学检验实验室等多家检验所因为买卖合同纠纷对簿公堂。
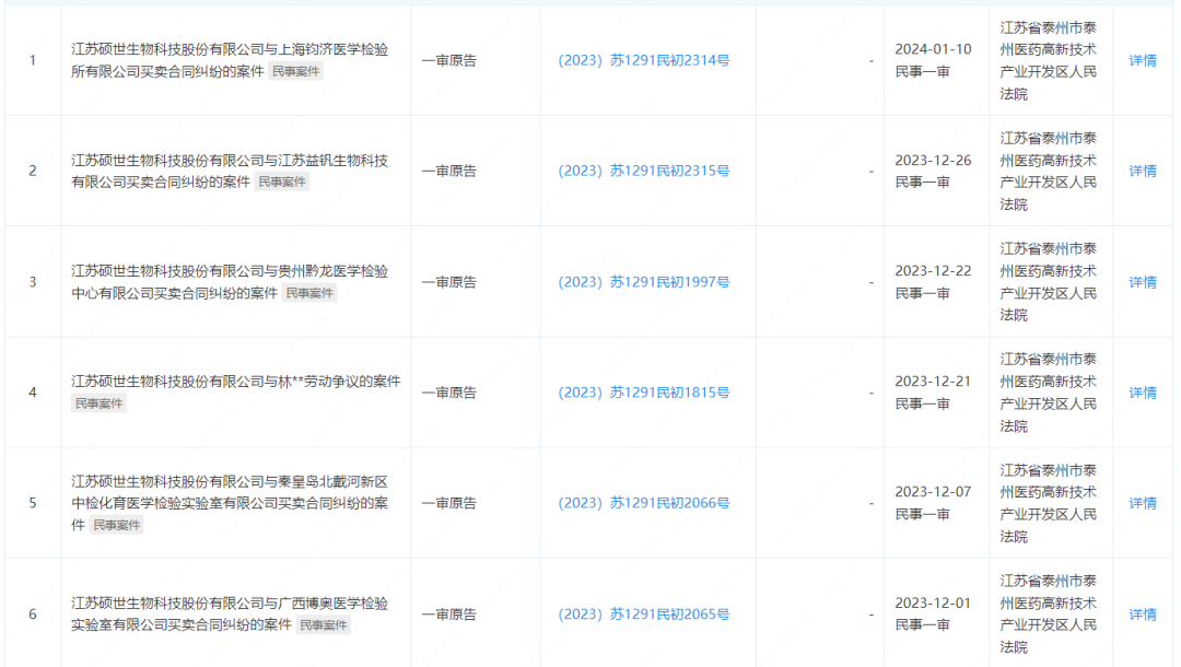
检索硕世生物同样与多家检验所出现了买卖合同纠纷,涉及上海钧济医学检验所、贵州黔龙医学检验中心、秦皇岛北戴河新区中检化育医学检验实验室、广西博奥医学检验实验室、南京中润医学检验、黑龙江精卫医学检验实验室、成都久欣医学检验、成都凡迪医学检验所、上海探洇医学检验实验室、乐山道可名康医学检验实验室、泸州道可名康医学检验实验室、上海塞力斯医学检验实验室、上海裕隆医学检验所、上海裕隆神光医学检验实验室等。
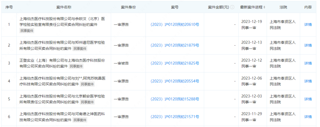
作为新冠核酸检测领域的黑马,上海伯杰医疗的检索数据显示,其与佘欧汶(北京)医学检验实验室、郑州谱尼医学检验所、北京朝安医学检验所等同样存在一定的买卖合同纠纷。
同样做为核酸检测公司,上海之江生物、圣湘生物、凯普生物等在买卖合同方面的纠纷几乎没有。
这种差异的来源,有可能是销售模式和账期等销售管理的方式差异,也有可能是面对买卖合同纠纷的处理方式差异导致的。
年底是检验一年工作结果和成绩的时候,对于IVD企业而言,走司法程序是最后一步,也是无奈之举。
是在这个时代背景下出现的一个特殊现象,这些区域检验所借着风口快速扩张业务,也随着风口的消失,狠狠的被摔在地上,回归常规业务对于IVD生产企业而言,是一条艰难的路;对于区域检验所而言,也是一条艰难的路;一边缺少有竞争力的产品,一边缺少客户,还要和医院自开做斗争,这届区域检验所活的很辛苦,再遇上账期长一点,资金链断裂是分分钟的事。
最后希望各位销售,都能够顺利回款~,希望各家区域检验所都能走出困境,希望各家IVD企业都能在自己的赛道里做到头部。
